一、白条分割
1. 进入系统后台,点击库房-SKU调拨-分割关系。
2. 输入所需分割的商品及对应的子料,填写完毕后点击保存。
3.所新增的分割关系可随时进行查看与编辑
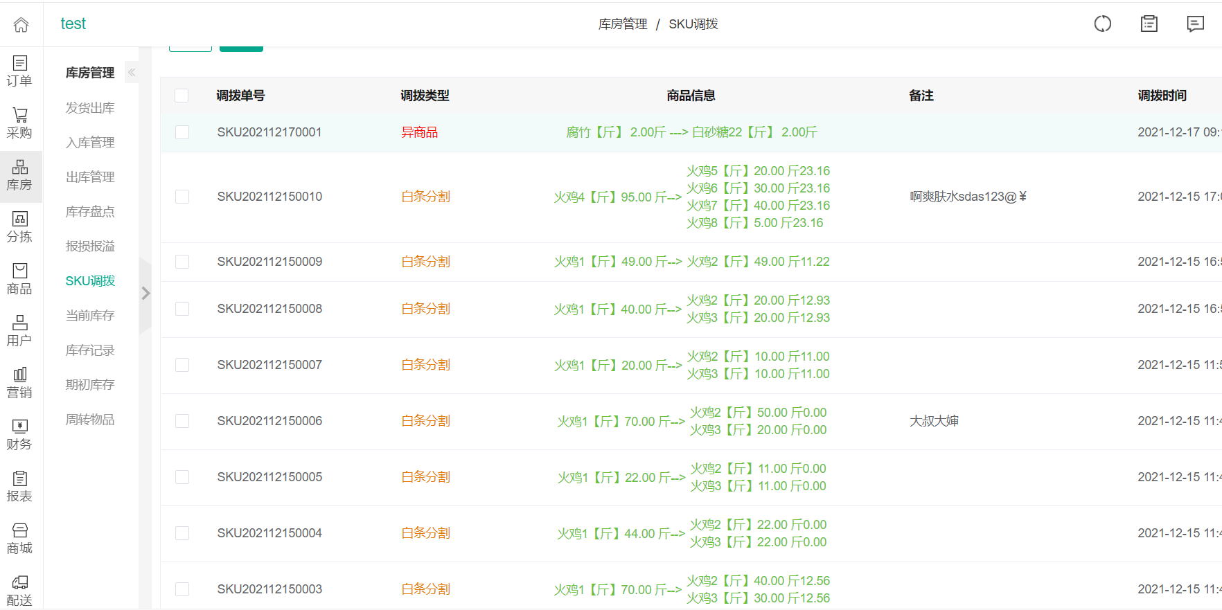
4.点击返回后再点击新增调拨-白条分割,输入对应信息即可。
5.子料库存单价便能够自动生成,工作效率进一步提升,节约企业经营成本。
二、库房助手
1. 进入系统后台,点击商城-商城配置-更多入口,点击进入库房助手页面。
2. 进入库房助手后,待发货、待入库数据随时查看,盘点损耗数据图表化呈现,数据波动清晰展现。
3.还能自主选择查看的时间范围:近一周、半个月或一个月。
4.便携式扫码盘点,边盘边录
5.暂存区清晰查看已盘点商品信息:系统库存、实际库存、库存价等
6.点击我的,当前库存、库存记录也能随时查看。
三、产品溯源
1. 扫描产品溯源二维码,即可随时读取产品详细信息:商品信息、溯源信息、企业资质及质检报告,使得消费者更放心。
2.分拣小票溯源展示页升级,科技感、安全感十足。

